KL25

Capacitive leakage probe

Features

WHG EX Leckagesonde

product family

level measurement

product class

overfill protection and leackage detector

suitable for

fluids

measurement principle

capacitive


Special characteristics

Description

Leak detection with capacitive probe for drip trays and containment areas for signaling spilled water-polluting liquids

Technical Data

Properties
ltdata.SchutzartnachDINEN60529Sondenkörper)
IP68
ltdata.SchutzartnachDINEN60529Stekcer/Dose
IP65
ltdata.Leitungstyp
geeignetes Leitungsmaterial
ltdata.Leitungslänge
auf Wunsch
Operating pressure
atmosphärisch / max. 2 bar
ltdata.Medien-undUmgebungstemperaturStandard
-20 °C ... max. + 80 °C
ltdata.Medien-undUmgebungstemperaturPVC
-20 °C ... max. + 60 °C
Connection
Housing
Polyester / Polycarbonat / Aluminium
ltdata.Kabelanschluss
Plug

KL25 application-specific configuration

KL25 - [ 1 ] - [ 2 ] - [ 3 ] - [ 4 ]


1 Ausführung

  • F : Stabversion fest (Ex-Version)
  • V : Stabversion verstellbar (Ex-Version)
  • K : Kabelversion hängend, mit Sondenkörper Ø 16 mm (Nicht-Ex)
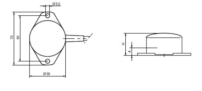
  • P : Kabelversion stehend, mit PVC-Sondenkörper ca. Ø 50 mm (Nicht-Ex)/L

2 Sondenmaterial

  • PE : PE
  • PVC : PVC (Kabelversion stehend, mit PVC-Sondenkörper ca. Ø 50 mm)
  • XX : optional Kundenwunsch

3 Anschluss

  • ST : Steckeranschluss (Standard bei Version fest + verstellbar sowie Version stehend, nicht bei Version hängend)
  • AD : optional Anschlussdose (Standard bei Version hängend)
  • KS : optional Kabelschwanz
  • XX : optional Kundenwunsch

4 Verschraubung

  • OH : ohne
  • G1 : G 1“
  • XX : optional Kundenwunsch

Further product information

Leak detection with capacitive probe for containment trays and containment areas to signal
spilled water-polluting liquids.

The leak detection probe is designed for use in containment trays and containment areas under atmospheric conditions. However, the maximum operating temperature of the liquid at the leak detection probe is +80 °C.

The parts of the leak detection probe that come into contact with the liquid, its vapors, or condensate are made of the following plastics:

  • Polyethylene (PE)
  • Polyvinyl chloride (PVC)
  • Optional: Polypropylene (PP)
  • Polyvinylidene fluoride (PVDF)

Documents and Downloads

Accessoires

Similar Products

KF25

Capacitive level sensors as overfill protection

Our application engineers advise you personally, comprehensively and professionally!

Simply contact us by phone or e-mail!

Call us right away!

+49-6251-8462-0

contact form

Logo of Fluid.iO Sensor + Control

Fluid.iO
Sensor + Control
GmbH & Co. KG

An der Hartbrücke 6
64625 Bensheim
Tel.: +49-6251-8462-0
E-Mail: info@fluidio.de